
本项目已在民政部指定的互联网公开募捐服务平台“腾讯公益”平台发布,项目链接:https://gongyi.qq.com/succor/detail.htm?id=3014074
一、项目背景
随着社会发展和城市化进程加速,社区作为城市的基本单元,承担着日益重要的社会管理与服务职能。滨湖区现有78个社区,当地统筹设立社区基金并推出系列项目,为社区困难群众提供更加精准、有效的帮助与支持,切实解决急难愁盼问题,提升民生福祉。
社区基金是积聚社区慈善力量的重要载体与平台,可广泛动员社会慈善力量参与基层社区治理,助力营造社区慈善生态、促进社区和谐发展。所筹善款主要用于支持社区共建公益服务项目,聚焦社区“一老一小”“一困一残”等群体,通过协同社区共建,精准回应兜底服务对象的实际需求,推动慈善在社区扎根、深入民心,激发人人参与慈善的社区活力,营造包容、友善、温暖的社区氛围。
项目预计覆盖60000人次,在项目执行期间将联动社区所在街道(镇)、党群服务中心等,常态化宣传身边的公益慈善行为与公益达人,普及公益慈善活动;在社区开展慈善法规与政策宣传、志愿者招募、互动游戏等活动,组织公益理发、义务缝补等便民服务,让居民在参与中感知慈善、了解慈善;同步开设公益集市,联动爱心企业捐赠物资帮扶弱势群体,并鼓励居民在互动摊位进行闲物置换,以多元场景融合开启社区居民共享生活。

二、受益对象故事
社区基金打通“最后一公里”
家住滨湖区荣巷街道荣巷社区梁湖南苑的王师傅,夫妻二人2003年从外地迁来无锡,无经济来源。每月仅615元居民养老补贴来维持基本的日常生活。最近妻子的身体也不太好,王师傅正在为医药费犯难。社区第一时间从社区“幸福家园”社区里拿出5000元慈善救助这一家人,“社区一直以来对于我们困难群众的生活都很关心,逢年过节都会想到我,这次的慰问金好比及时雨,缓解了我们家庭当下的困境,真的非常感谢社区!”王师傅拿着补助金激动地说道。”此次慰问金的发放,虽然金额不多,但也是社区对于困难群众的关心,希望可以帮助他们缓解一些燃眉之急,解决一点实际困难,改善一下当下的生活。真正做到社区慈善打通“最后一公里”,能真切感受到社区对他们的关心。”荣巷社区负责人说道。据悉,该社区始终把民生实事作为社区工作的重要组成部分,以“五善工作法”为抓手,扎实开展以助医、助学、助老、助孤、助困等救助帮扶工作。同时,荣巷社区立足社区实际,整合资源,制定社区临时救助政策,完善社区救助帮扶体系,有效保障困难群众的基本生活。

三、帮扶方案
幸福滨湖社区基金,旨在为滨湖区居民提供多元公益服务、优化居住环境,并为困境群体送去应急帮扶,解决社区服务供给不足、老旧居住场景不便、困难家庭缺乏支持的问题,最终打造更有温度、更具活力的幸福社区。
(1)受益对象
有公益活动参与需求的辖区居民
居住在需微改造社区的居民
因疾病、残疾、突发意外陷入困境的社区居民
(2)筛选标准
公益活动类:社区报名+资格审核,或按活动要求筛选
微改造类:街道 / 社区摸排需求 + 改造规划匹配
困境群体类:村(社区)走访+逐级上报审批确认
(3)帮扶模式
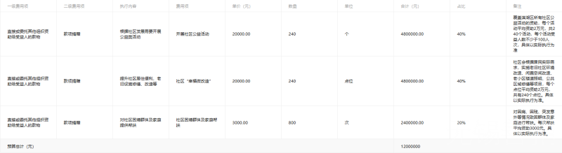
社区公益活动:聚焦文化建设、便民服务,落地多元活动,每活动覆盖≥100 人,拓宽服务辐射面。
幸福家园微改造:定制个性化方案,推进环境改造、空间活化、照明升级等,提升居住安全性与幸福感。
困境群体帮扶:为符合条件的困境群体/家庭提供平均3000 元 / 次的资助。
透明管理:专业机构托管资金,定期披露+审计监督,确保项目公开安全。
(4)执行计划
筹款 / 实施期:2026.1—2028.12(完成基金筹备与帮扶落地)
收尾期:2028.12—2029.3(项目审计公示复盘、资料定稿归档)
(5)预期成果
1.困难家庭生活水平提升,逐步摆脱困境
2.社区互助氛围增强,居民参与感、归属感显著提升
3. 社区资源高效整合,服务辐射面与生活品质同步升级
四、执行计划

五、项目预算

预算补充说明:
本机构承诺,公募机构已对本项目的预算进行审核,确认符合制定规范,本项目涉及的慈善组织的发起人、主要捐赠人以及管理人员,不得利用其关联关系损害慈善组织、受益人的利益和社会公共利益,根据我机构相关财务规章制度,对于应在招投标范围内的采购、委托事项,我们将开展第三方比价或公开招标,确保善款的合规有效使用。
本项目最低可执行金额:0元
如果善款未达到执行条件,善款的变更使用方向为:用于无锡市慈善总会(无锡市慈善联合会)同类型慈善公益项目。
六、执行地点:江苏省滨湖区
七、项目执行能力说明
无锡市慈善总会成立于1997年1月,2006年第三届理事会决定,无锡市慈善会更名建立无锡市慈善总会,是在无锡市民政局登记的社会团体法人组织。在市委、市政府高度重视和社会各界鼎力支持、广大市民热情参与下,慈善总会践行慈善传统美德,坚持“依靠社会办慈善、办好慈善为社会”的理念,聚焦“助困、助急难、补短板”,大力弘扬慈善文化,广泛动员社会力量,多方筹措慈善款物,向社会各类困难群体实施帮扶救助。先后获评“全国先进社会组织”、“中华慈善先进机构奖”、“透明慈善卓越组织”、“5A社会组织”、第七届“全国文明单位”、第七届“江苏慈善奖”等荣誉称号;自2011年起连续五届荣获“中国城市公益慈善指数七星级奖”。
八、项目执行单位:无锡市滨湖区慈善基金会
九、发票说明
捐赠票据开具时间及流程:您可以在捐赠后6个月内,登录“个人中心—我的捐赠票据”进行在线申请,申请后系统将统一开具并发送至相应手机号码。当年12月的捐款,请在12月30日前申请开票。您也可在个人中心查看处理进度。如已通过个人中心申请,请耐心等待。如果超出6个月,或晚于当年12月30日,系统将不再接受开票申请。
十、善款接受单位:无锡市慈善总会(无锡市慈善联合会)
本会郑重提醒广大爱心人士:本会从未开展任何以“捐赠返利〞、“做任务返现〞或“第三方代捐”等形式的捐款活动,请大家提高警惕,如遇此类行为请一律不要相信,并及时向本会和公安机关进行反映。
(以上图片均已获得授权)